PLAXIS 2D Tutorial 05: Settlements due to tunnel construction


Application PLAXIS 2D
Version Latest version

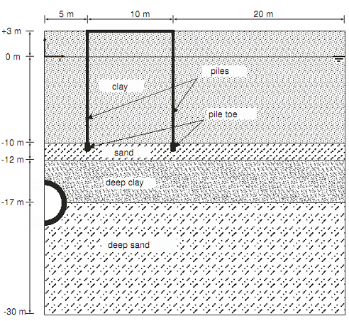
PLAXIS 2D has special facilities for the generation of circular and non-circular tunnels and the simulation of a tunnel construction process. In this lesson, the construction of a shield tunnel in medium soft soil and the influence on a pile foundation is considered. A shield tunnel is constructed by excavating soil at the front of a tunnel boring machine (TBM) and installing a tunnel lining behind it. In this procedure, the soil is generally over-excavated, which means that the cross-sectional area occupied by the final tunnel lining is always less than the excavated soil area. Although measures are taken to fill up this gap, one cannot avoid stress re-distributions and deformations in the soil as a result of the tunnel construction process. To avoid damage to existing buildings or foundations on the soil above, it is necessary to predict these effects and to take proper measures. Such an analysis can be performed by means of the finite element method. This lesson shows an example of such an analysis.

The provided *.p2dxlog file contains all the commands to generate the model. With a Bentley Geotechnical SELECT Entitlement [GSE] license, you can use the link to save as the file (remove the extension .txt) and with the  Commands runner open to execute all commands in one go, see also this instruction.

 

Downloads

See also